PS4: Sony brevetta un motion sensing più evoluto

PS4: Sony brevetta un motion sensing più evoluto


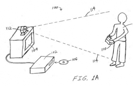
Invece di continuare a guardarsi indietro, cercando di ripercorrere i propri passi in cerca di chi o di cosa abbia potuto creare così tanti problemi con il lancio della PS3, in casa Sony stanno già guardando avanti, al futuro. Un futuro che, volendoci sbilanciare, potremmo chiamare PS4, un traguardo ancora lontano per noi giocatori, ma incredibilmente vicino per ingegneri e tecnici. Il primo passo in tale direzione del quale veniamo a conoscenza riguarda un innovativo sistema di motion sensing che la Sony intende usare per una nuova generazione di videogiochi. Il brevetto numero 0060282873 combina l’utilizzo di LED a infrarossi con una periferica ricollegabile all’EyeToy, ma non reagisce al solo controller bensì a tutto il corpo del giocatore, interagendo con i suoi movimenti. Quel che più conta, tale brevetto non sembra clonare quello del Wiimote, ma è comunque troppo presto per sapere con certezza che non si ripeterà un nuovo caso Sixaxis. Non resta che attendere, e chissà che questo progetto non veda la luce già per la tanto bistrattata PS3…

[via Joystiq]

Ti consigliamo anche

Link copiato negli appunti
Change privacy settings
×