Nessun risultato. Prova con un altro termine.
Prodotti
Notizie
Topic
Pc
Video e Trailer
Screenshot
Action
RPG
Pubblicità
Trending
Mac Os
RPG
Strategico a Turni
Google Stadia
PlayStation 4
PSP
RTS
Sparatutto
About
Pc
Video e Trailer
Screenshot
Action
RPG
Pc
Video e Trailer
Screenshot
Action
RPG
Pubblicità
Trending:
Mac Os
RPG
Strategico a Turni
Google Stadia
PlayStation 4
PSP
RTS
Sparatutto
HOME
Hardware
Curiosità
Nintendo Wii U: la versione Basic della console avrà effetivamente solo 3gb di spazio disponibile
Hardware
Nintendo Wii U: ecco il trailer di lancio italiano della console
Cosplay
Microsoft regala una Xbox 360 Slim esclusiva agli abbonati Xbox Live più fedeli - galleria immagini
Curiosità
Nintendo Wii U: una video presentazione giapponese ci mostra le funzionalità della console
Curiosità
Wii U Chat: Reggie e Iwata svelano il funzionamento del servizio con una dimostrazione video
Curiosità
Nintendo Wii U: Satoru Iwata ci mostra l'unboxing della console
Hardware
Xbox Surface: Microsoft sta lavorando a un nuovo ibrido tablet-console?
Curiosità
Wii U: le caratteristiche tecniche del browser internet nativo
Hardware
Wii U: video anteprima su console e GamePad
Curiosità
Nintendo Wii U: ecco il primo spot televisivo inglese
Curiosità
PS3: domani l'aggiornamento firmware 4.30 - benvenuti trofei PS Vita, addio Folding@home
Curiosità
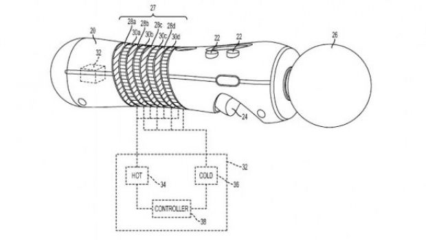
PlayStation Move: registrato un brevetto per un modello in grado di emettere calore
Curiosità
Wii U: un video ci mostra l'interfaccia della nuova console Nintendo
Data di uscita
Nintendo 3DS XL: annunciate nuove colorazioni della console e 3 bundle per il mercato giapponese
Curiosità
PlayStation 3 Super Slim: mostrate due nuove edizioni a tema
Action
Platinum Games si sbottona: Bayonetta per PS3 è stato il nostro "più grande fallimento"
Curiosità
Wii U: Nintendo conferma il blocco regionale
Curiosità
Wii U: i giochi compatibili con un secondo GamePad arriveranno nel 2013
Hardware
Wii U: ecco le specifiche tecniche definitive?
Downloads
Ps Vita: disponibile il firmware 1.80 - dettagli, video dimostrativo ed elenco dei primi titoli PSone
Curiosità
PlayStation 4: Sony pensa già alla risoluzione 4K
Curiosità
Oculus Rift: un rivoluzionario headset per la realtà virtuale approda su Kickstarter
Curiosità
Halo 4 Limited Edition: il bundle Xbox 360 mostrato da vicino in nuove immagini
Hardware
Droid X360: la PS Vita tarocca con emulatori e Android 4.0 - galleria immagini
Curiosità
Nintendo 3DS XL in un video comparativo con il Nintendo 3DS
Curiosità
Nintendo Wii U: data e prezzo verranno svelati a settembre?
Hardware
Nintendo Direct: disponibile il video della conferenza europea sottotitolato in italiano
Data di uscita
[Aggiornata] Nintendo 3DS XL annunciata ufficialmente - immagini, dettagli, prezzo e data di uscita
Hardware
Wii U: presentata la nuova versione del controller Wii U GamePad - galleria immagini
Hardware
Unreal Engine 4 si mostra in ulteriori immagini dimostrative
1
2
3
4
5
6
7
8
9
10
Change privacy settings
×